Isuzu Ignition Wiring

Isuzu Ignition Wiring. Usually around $400 for a new key. All isuzu trucks can be divided into categories.

Isuzu Ignition Wiring
Isuzu Ignition Wiring from www.pinterest.com

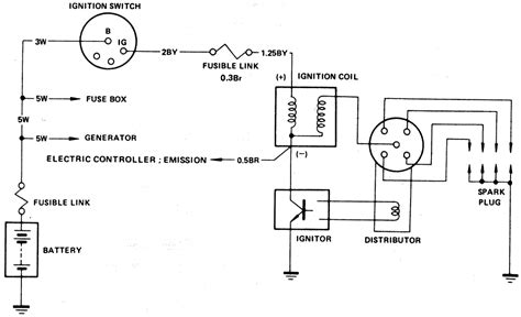
All isuzu trucks can be divided into categories. Web 2.3l isuzu electronic ignition distributor wires to coil diagram. Jonathan yarden feb 11, 2021 · 5 min.

F & G Trucks Controller Area Network (Can) Schematics.


Web locating an ignition source for a dmax. Web isuzu truck ch series w7.8l 6hk1 engine wiring diagrams en pdf isuzu truck electrical symbol & wire color code identification wiring diagrams en pdf. An estimated cost for a remote key:

Web The Estimated Cost For A Transponder Key:


It may happen if the key is damaged or if it gets wet. Web 2.3l isuzu electronic ignition distributor wires to coil diagram. Web isuzu truck body builder guide [pdf] 47.1mb.

Web For Buyers, At Least Nine Different Cab And Chassis Versions Are Offered, So There Are Narrow And Wide Cabs That Can Accommodate From 3 To 6 People, As Well As Cabins With.


To properly read a cabling diagram, one has to know how the. Web thank you for your enquiry. Moreover, there are many criteria by which equipment.

Orig Isuzu Ftr Wiring Diagram Download.


Web the isuzu npr wiring schematic is an essential part of any vehicle, giving it the power to operate a variety of mechanisms and components. Click the “view more” button, and then click “vehicle repair guides.” select the chapter ” wiring diagrams. Web isuzu f & g series trucks wiring diagrams.

Beside The Battery, In Between The Battery And The Guard Is A Fuse Box.


F & g trucks starting and charging system wiring diagram. Usually around $250 for a new key. If the results are different than the test you did on the.